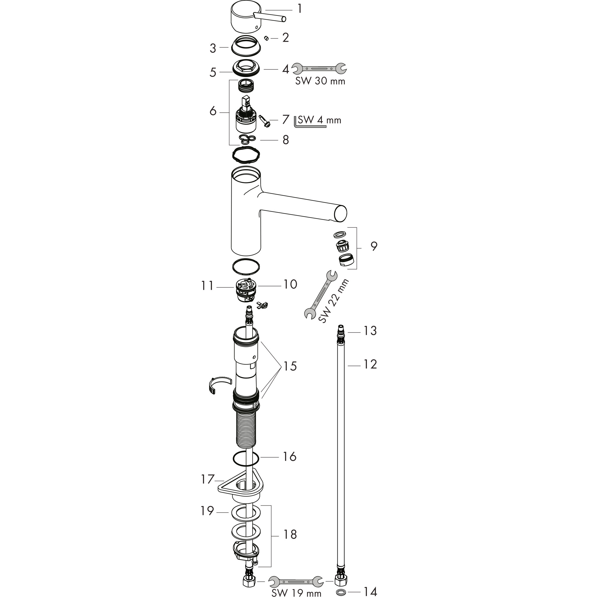
BeschreibungErsatzteile Beschreibung ComfortZone 170Schwenkbereich 150°Normalstrahlmaximale Durchflussmenge bei 3 bar: 16 l/minKeramikmischsystemTemperaturbegrenzung einstellbarfür Durchlauferhitzer geeignet Ersatzteile Zugehörige Artikel Hans Grohe HANSGROHE Keramik Kartusche komplett M3/ M2 #92730000 Hans Grohe HANSGROHE O-Ring 41x2 #98212000 Hans Grohe HANSGROHE Mutter #97996000 Hans Grohe HANSGROHE Griff #32892000 - Chrom Hans Grohe HANSGROHE Kappe #97995000 - Chrom Hans Grohe HANSGROHE Luftsprudler M24x1 (25 l/min) #95820000 - Chrom