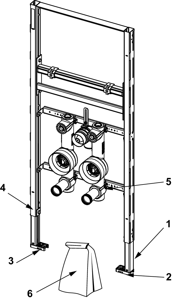
Waschtischmodul zur Befestigung an TECEprofil Profilrohren oder für den Einbau in Metall- oder Holzständerwände und als Vorwand- oder Eckmodul. Komplett vormontierte Einheit bestehend aus: selbsttragendem Montagerahmen, pulverbeschichtet zwei Haltebolzen M 10, höhen- und seitenverstellbares Abstandsmaß HT-Anschlussbogen DN 50, einschließlich Bauschutzstopfen zwei schallgedämmte und absperrbare Rp 3/4" Montageblöcke für Wasserzähler-Messkapseln mit Koax G 2" und Anschluss-T-Stück Rp 1/2" für Eckventile Bitte separat bestellen: Befestigung für die Vorwand-, Eck- oder Holzständermontage (optional) Fertigmontageset für Unterputzventil, verchromt Seal System Baustopfen mit Dichthülse (optional) Behördenoberteil (optional) Universal-Blindrosette für Wasserzähler-Montageblock (optional)