Beschreibung
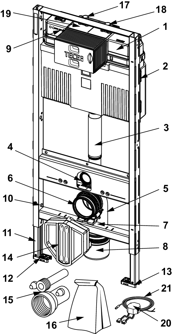
WC-Modul inklusive "easy fit" Betätigungsplattenmontage. Zur Befestigung an TECEprofil Profilrohren oder für den Einbau in Metall- oder Holzständerwände und als Vorwand- oder Eckmodul; auch für die Einzelblockmontage geeignet. Uni-Spülkasten für Betätigung von vorne: Spülkasten mit integrierter Hygienespülung komplett vorinstallierte Spüleinheit mit Hygienespülfunktion Mehrwege-Absperrventile mit Funktion zum Spülen der Rohrleitungen vor Inbetriebnahme zwei Spülkastenanschlüsse mit Außengewinde R 1/2" oben, zum Spülen von Warm- und Kaltwasserleitungen (2 x Kaltwasser möglich), kompatibel zu Schnelladaptern Sicherheitstank aus schlagzähem Kunststoff, nach EN 14055 geprüft Spülkasten komplett vormontiert und versiegelt 10 Liter Tankvolumen; 6 Liter voreingestellte Standardspülmenge; 4,5/7,5/9 Liter Spülmenge jederzeit einstellbar; 3 Liter Teilmengenspülung bei Zweimengentechnik; Restvolumen zur sofortigen Reinigungsspülung nutzbar. schwitzwasserisoliert für TECE-Betätigungsplatten und WC-Armaturen als Ein- oder Zweimengenspülkasten einsetzbar "easy fit" Betätigungsplattenmontage Installationstunnel für Serviceöffnung, ohne Werkzeug kürzbar geräuscharmes hydraulisches Füllventil, Armaturengruppe 1 nach DIN 4109 Netzanschluss mit Trafo inklusive Anschlusskabel Füllstandsensor, schützt vor Rückstau im Spülkasten Spülstromdrossel einstellbar ohne Demontage des Ablaufventils Bedienung: lokal via Bluetooth-Schnittstelle über TECE App Smartconnect zentral und ortsunabhängig via Ethernet oder WLAN-Schnittstelle über TECE Smartconnect Web Anwendung, optional über GLT-Schnittstelle Einstellen der Spülintervalle oder Spültage in Kombination mit der Spülmenge Einstellen von Temperaturen für ein temperaturgeführtes Spülen Protokollierung der Spülhistorie Modulrahmen: selbsttragend, pulverbeschichtet zwei Haltebolzen und Muttern M 12 WC-Ablaufbogen DN 90 mit Übergangsadapter DN 90/100 aus PP Übergangsadapter auch für waagerechten Einbau geeignet WC-Anschlussgarnitur DN 90 WC-Anschlussbox inklusive Rohbauschutz, mit Abzweigdose und Abdeckung für Trafo Einstellung einer erhöhten Keramikbefestigung für 48 cm Sitzhöhe, gemäß DIN 18040 möglich (DIN 18040: Barrierefreies Bauen - Teil 1: Öffentlich zugängige Gebäude und Arbeitsstätten). Bitte separat bestellen: TECE-Gateway (Best.-Nr. 9810013) WC-Betätigungsplatte (siehe Betätigungen) Befestigung für die Vorwand-, Eck- oder Holzständermontage Anschlusskabel für Gebäudeleittechnik (optional) TECE-Aufrüstset Trockenbau für TECE-Dusch-WCs (optional) Achtung: Angebote zur Inbetriebnahme und Wartung finden Sie auf unserer Serviceseite https://www.tece.com/de/service/inbetriebnahme (QR-Code). Nicht mit TECE-Einwurfschacht für Reinigungstabs kompatibel.